要点速览
- 将发热体、电源及控制系统集成于单支烟支中,无需外部烟具
- 采用机械式温控替代传统半导体温控方案
- 试图复现传统卷烟的便携性及“散烟”使用场景
- 电池容量上限(≤400mWh)可能限制性能与抽吸次数
- 内置电源结构或带来安全与监管分类新问题
2Firsts
2026年3月18日
根据国家知识产权局中国专利信息网公开信息,上海新型烟草制品研究院有限公司申请了一项名为“一种无烟具电加热不燃烧烟支”的专利。
该设计将过滤段、烟草基质、发热体、控制器及电源集成于单一圆柱结构中,外形接近传统卷烟。不同于现有需依赖专用烟具的加热不燃烧产品,该方案可实现独立使用。
机械式温控替代电子系统
该专利的一大技术特点在于采用机械式温控系统。不同于常见的半导体温控方案,其通过热膨胀断路器(如气囊或双金属结构)实现温度调节。
当温度变化时,电路可自动开合,从而实现加热循环控制。这一设计有助于简化系统结构,并提升高温环境下的适配能力。
内置电源约束凸显技术边界
专利显示,烟支内置储能元件电量上限为400mWh,同时对重量(≤4g)和体积(≤4cm³)进行严格限制。
这一设计有助于实现接近卷烟的形态,但也可能对加热时间、气溶胶释放量以及整体使用体验形成约束。

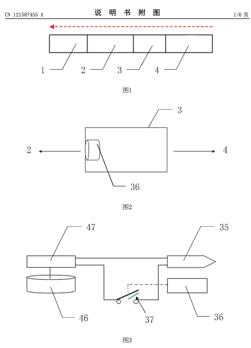
图1展示烟支由过滤段、烟煤段、发热电路段及电源段依次构成;图2为发热电路段结构示意;图3为发热体、电源及控制器之间的电路连接关系,其中通过绝缘片实现回路启闭。
图源:国家知识产权局中国专利信息网
技术局限与不确定性
尽管该设计实现了一体化结构,但仍存在多方面技术与现实不确定性。
首先,有限的电量可能对加热温度稳定性、气溶胶释放量以及抽吸口数等关键性能指标形成约束。
其次,将电源嵌入一次性烟支中,涉及热管理、电池稳定性以及在储存、运输和使用过程中的潜在安全风险。
再次,该产品形态在监管层面可能存在归类不确定性。兼具卷烟形态与电子加热结构的产品,在不同市场中可能面临交叉监管。
总体来看,该专利在结构设计上具有创新性,但其商业化可行性仍有待验证。
产业意义:HTP或向“一次性产品形态”演进?
该设计显示,加热不燃烧产品可能从“设备依赖型”向“产品本体即设备”的方向演进。
这一思路在一定程度上呈现出类似“一次性产品”的发展趋势,但在技术实现与监管路径上仍存在显著差异。
若具备可行性,这类产品或可降低使用门槛并重塑渠道结构,但同时也将在安全、环保及合规方面带来新的挑战。
更多全球新型烟草产业动态,敬请关注 2Firsts。
封面图片:AI辅助制图
欢迎向 2Firsts 提供相关线索、投稿、联系访谈或针对本文发表评论。
请联系:info@2firsts.com,或在 LinkedIn 上联系两个至上 2Firsts CEO 赵童(Alan Zhao)。
声明
1. 本文仅供专业研究用途,聚焦行业、技术与政策等相关内容。文中涉及的品牌与产品,仅为客观描述之目的,不构成对任何品牌或产品的认可、推荐或宣传。
2. 含尼古丁产品(包括但不限于卷烟、电子烟、加热烟草、尼古丁袋)具有显著健康风险。使用者须遵守其所在辖区的相关法律法规。
3. 本文不应作为任何投资决策或相关建议的依据。对于内容中的任何错误或不准确之处,2Firsts不承担直接或间接责任。
4. 未达到法定年龄的个人禁止访问或阅读本文。
版权声明
本文为2Firsts原创内容,或转载自第三方来源并已明确标注出处。其版权及使用权归2Firsts或原始版权所有方所有。任何个人或机构未经授权,不得复制、转载、分发或以其他形式使用本文内容,违者将依法追究法律责任。
如有版权相关事宜,请联系:info@2firsts.com
AI辅助声明
本文部分内容可能借助AI工具完成翻译或编辑,以提升效率。但由于技术限制,可能存在误差。建议读者参考原始来源以获取更准确的信息。
欢迎读者指出可能存在的问题,请联系:info@2firsts.com





















